|
|
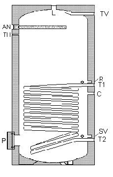
Stacionární zásobník s jedním trubkovým
výměníkem Typ S1 400 ltr
s
50 mm polyuretanovou izolační pěnou |
 |
 |
L-odvzdušnění
AN-anoda
TV-teplá voda
TH-teploměr
R-regulační jímka
T1-topná voda vstup
C-cirkulace
T2-topná voda výstup
SV-studená voda
P-příruba
|
|
|
- pro kotle na tuhá paliva, pelety a kotle s hořáky
- zhotovená dle normy DIN 4753 s 5-letou zárukou na nádobu
*
- dvouvrstvě smaltovaná vnitřní část nádoby
- do 500 litrů s 50mm PU izolací
- 800 a 1000 litrů s 100mm odnímatelnou izolací z měkké
pěny
- s jedním trubkovým výměníkem
- hořčíková anoda součástí zásobníku
- dovolený přetlak - topná voda 16 barů/ pitná 10 barů
- dovolená provozní teplota - topná voda 110°C / pitná
95°C
- barevné provedení: modrá, bílá,stříbrná nebo zelená
- při zakoupení redukční příruby lze připojit elektrická
topná jednotka G 6/4”
|
|
|
Technická data a ceny / Stacionární zásobníky |
|
Ojem:
Typ: |
150 Litrů S1.0150.x
|
200Litrů S1.0200.x |
300 Litrů S1.0300.x |
400 Litrů S1.0400.x |
500 Litrů S1.0500.x |
800 Litrů S1.800.x |
1000 Litrů S1.1000.x |
| Studená voda |
IG
1" |
IG 1" |
IG 1" |
IG 1 1/4" |
IG 1 1/2" |
IG 1
1/2" |
|
| Topná voda vstup |
IG
1" |
|
|
|
|
IG
1" |
|
|
Topná voda výstup |
IG
1" |
|
|
|
|
IG
1" |
|
| Příruba
(mm) |
180 |
180 |
180 |
180 |
180 |
280 |
280 |
| Cirkulace |
IG
3/4" |
IG 3/4" |
IG 3/4" |
IG 1" |
|
IG
1" |
|
|
Teploměr |
IG
1/2" |
|
|
|
|
IG
1/2" |
|
| Regulační jímka |
IG
1/2" |
|
|
|
|
IG
1/2" |
|
| Teplá voda |
IG
1" |
IG 1" |
IG 1" |
IG 1 1/4" |
IG 1 1/2" |
IG 1
1/2" |
|
| Odvzdušnění |
IG
1" |
|
|
|
|
IG
1" |
|
| Výška s
izolací
(mm) |
1070 |
1340 |
1410 |
1460 |
1710 |
1900 |
2110 |
|
Naklápěcí výška(mm) |
1206 |
1450 |
1553 |
1642 |
1868 |
2005 |
2215 |
| Průměr bez izolace (mm) |
455 |
455 |
550 |
650 |
650 |
750 |
850 |
|
Průměr s izolací (mm) |
555 |
555 |
650 |
750 |
750 |
950 |
1050 |
| Hmotnost
(kg) |
91 |
109 |
127 |
145 |
165 |
245 |
340 |
| Výhřevná plocha
(m²) |
1,0 |
1,0 |
1,4 |
1,6 |
2,4 |
3,5 |
3,5 |
|
Výkonový faktor
NL* |
NL 2,5 |
NL 4,8 |
NL 11,0 |
NL 13,0 |
NL 18,0 |
NL 35,0 |
NL
41,0 |
|
|
|